业务联系:188-666-7777

停车咨询:400-000-000

产品中心

小型自组网编码器

      物联网设备的工业应用产品: 

      小型自组网编码器是一款由电池供电,基于ZigBee无线通讯协议的高可靠性无线通讯功能、采集和传输旋转角度数据的测量角度、位移类仪表。小型自组网仪表适用于使用场地密集度较高、传输距离近的场所,可应用于船舶、医学、印刷、吹炼、工业自动化、金属加工及仪表制造等广泛领域,提供角度和位移测量。

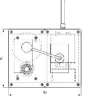
        结构尺寸

 

        规格参数

             工作电压:3V~5V

             工作电流:10mA
              发射功率:4dBm
              发射电流:28mA
              接收灵敏度:-96.4dBm
              接收电流:27mA
              待机电流:<240μA
              通信距离:>100m
               采样精度:±0.5%
              显示分辨率:360°/1024
             量程:0 ~360°
             供电电源:3.6V(19Ah)


在线咨询
在线客服